12560 Highway 601 Highway

12560 Highway 601 Highway

Midland, NC 28107
$850,000

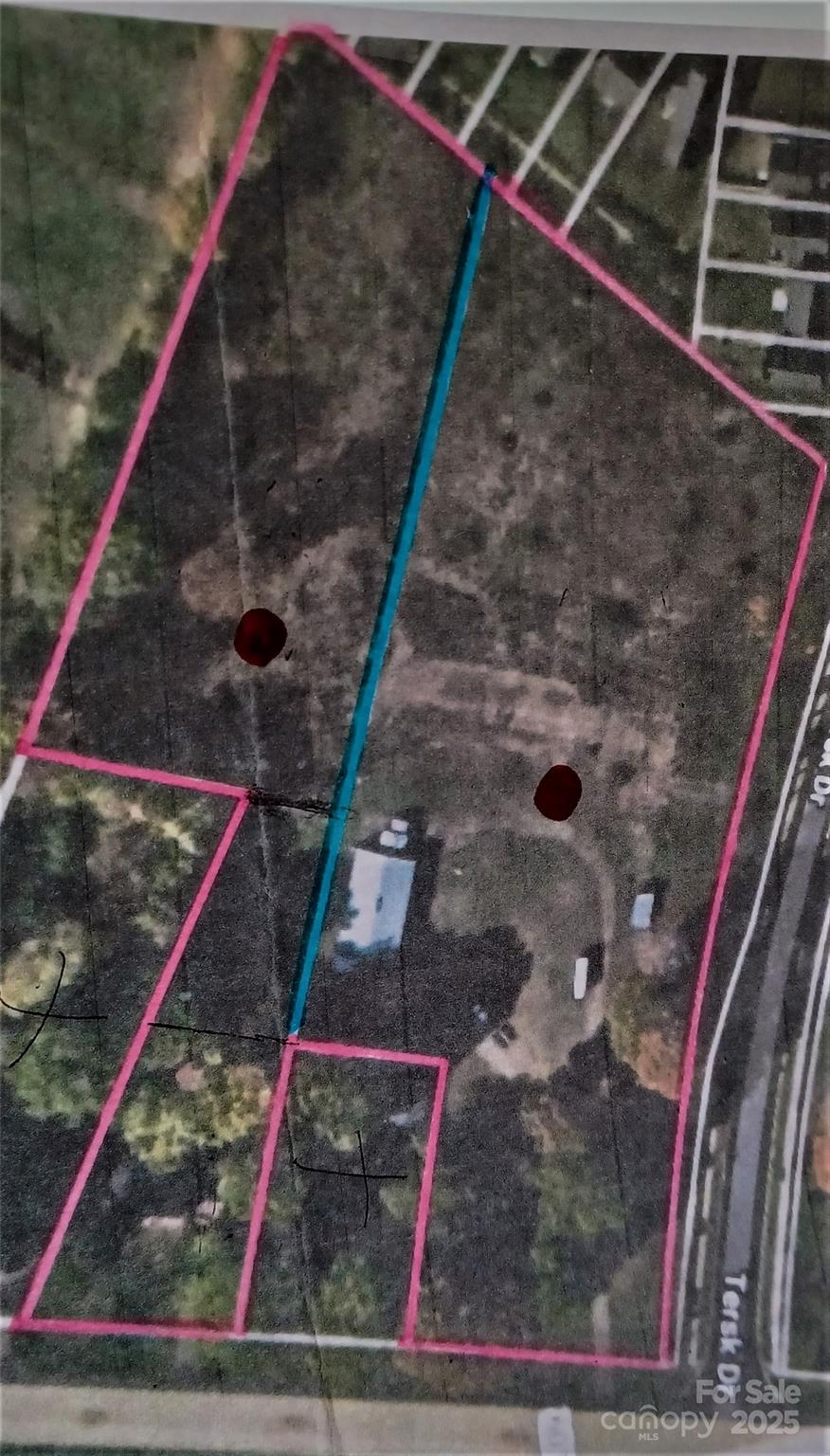
  • Lot Size: 4 Acres
Description

C 601 dual zoning in the Town of Midland, NC. allowing residential and commercial usage subject to the town of Midland's rules and regulations. Keep the buildings or tear down and build whatever meets your needs residentially or commercially. Located strategically on Highway 601 approximately .5 miles from 24/27(Albemarle Road) on a high traffic highway. Quick drive to I 485, Charlotte, Concord, Monroe and surrounding areas. There is a 2600 square feet workshop/garage (40/65) located behind the house that has dedicated 3 phase power, air outlets, full heat and air, 10' and 7' garage doors, separate area for office, water. Separate studio apartment on property. Sold as is.

Property Summary
Property Type: Commercial Sale Property Subtype : Business
Year Built : 1960 Construction Type : Site Built
Lot Size : 4 Acres
Property Features
  • Level
  • Covered Patio
  • Front Porch
Appliances
  • Electric Range
  • Electric Water Heater
  • Refrigerator
More Information
  • Construction : Brick Full
  • Roof : Architectural Shingle
  • Parking : Attached Carport
  • Heating : Central, Heat Pump
  • Cooling : Attic Fan, Ceiling Fan(s), Central Air, Heat Pump
  • Water Source : County Water
  • Road : Publicly Maintained Road
  • Possible Use : Commercial

Based on information submitted to the MLS GRID as of 11-16-2025 02:14:05 UTC All data is obtained from various sources and may not have been verified by broker or MLS GRID. Supplied Open House Information is subject to change without notice. All information should be independently reviewed and verified for accuracy. Properties may or may not be listed by the office/agent presenting the information.

Listed By
Debra Lynn Price
Debra Price
704-309-7358
Contact Us